car-wallpaper-amazing

Cars Wallpaper Engine Wallpapers Url Decode Encoder Circuit

707sc Single Band Pcs Gsm Edge Phone With Bluetooth User Manual
fccid.io

40 Best Purchase Order Forms Images Purchase Order Order Form
www.pinterest.com

Stardog 7 The Manual
www.stardog.com

News All News
store.steampowered.com

Articles 1
pbwcz.cz

Patent Us 9 201 979 B2
insight.rpxcorp.com

Articles
www.pbwcz.cz

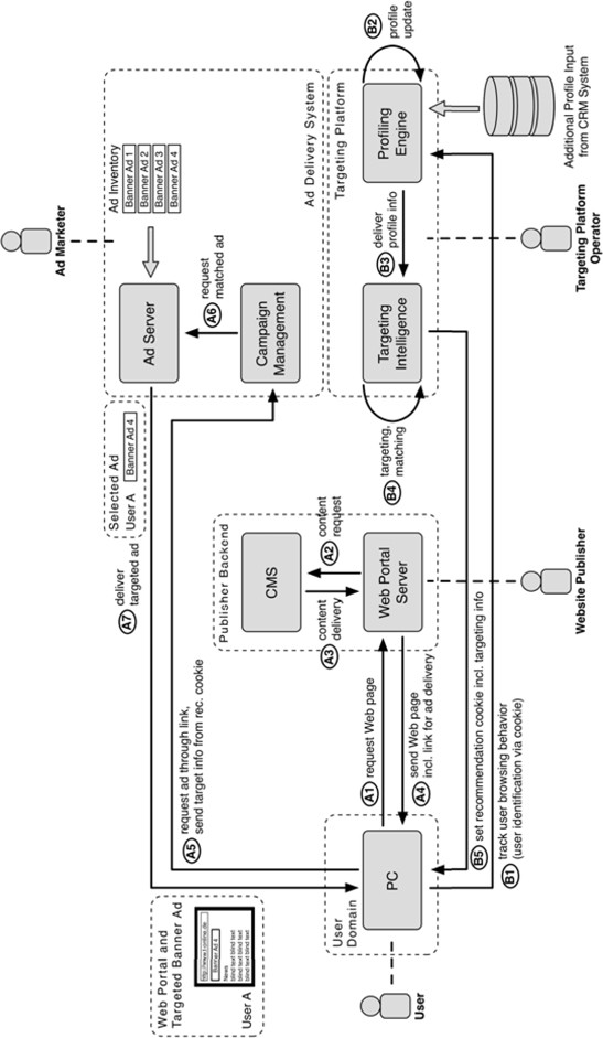
Technological Use Case Analysis Springerlink
link.springer.com

Hardware Yet With Pureos
puri.sm

News All News
store.steampowered.com

Planet Mozilla
planet.mozilla.org

Optimization Icon

Planet Sipb
sipb.mit.edu

Patent Us 9 646 439 B2
insight.rpxcorp.com

Planet Kde
planet.kde.org

Patent Us 9 058 406 B2
insight.rpxcorp.com

Nk9y8bzi7vg1zm

Us7715036b2 Mobile Device For Printing On Pre Tagged Media
patents.google.com

Object Detection In 20 Years A Survey
www.groundai.com

Us20140310702a1 Vehicle And Device Software Updates Propagated
patents.google.com

Accelerate Video Analytics Development With Deepstream 2 0
devblogs.nvidia.com

News All News
store.steampowered.com

News All News
store.steampowered.com

Libretro A Crossplatform Application Api Powering The
www.libretro.com

News All News
store.steampowered.com

Patent Us 9 201 979 B2
insight.rpxcorp.com

Us7206748b1 Multimedia Player Toolkit For Electronic Content
patents.google.com

Accelerate Video Analytics Development With Deepstream 2 0
devblogs.nvidia.com

Video Vortex Reader Ii Moving Images Beyond Youtube
www.yumpu.com

Catalogue Isea2017 16ยบ Festival Internacional De La Imagen By
issuu.com

Shallow Thoughts Tags Programming
shallowsky.com

News All News
store.steampowered.com

News All News
store.steampowered.com

708sc Pcs Gsm Edge Phone With Bluetooth User Manual Samsung
fccid.io

Patent Us 9 201 979 B2
insight.rpxcorp.com

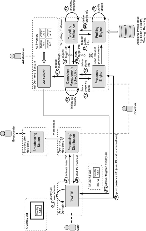
Technological Use Case Analysis Springerlink
link.springer.com

Articles 1
pbwcz.cz

Web Security Sooel Son Is Ppt Download
slideplayer.com

Technological Use Case Analysis Springerlink
link.springer.com

Us20140309873a1 Positional Based Movements And Accessibility Of
www.google.com

Planet Sipb
sipb.mit.edu

Sisu Accelerando
www.yumpu.com

Planet Mozilla
planet.mozilla.org

Us20140309873a1 Positional Based Movements And Accessibility Of
www.google.com

Planet Kde Page 4 Kde News
dot.kde.org

Patent Us 9 646 439 B2
insight.rpxcorp.com

Planet Mozilla
planet.mozilla.org

Planet Sipb
sipb.mit.edu

Nvidia Developer News Centernvidia Research Nvidia
news.developer.nvidia.com

Tensorrt Container On Nvidia Gpu Cloud Ngc
news.developer.nvidia.com

Freegamedev Net Game Dev Feed Devplanet Social Freegamedev Net
social.freegamedev.net

Patent Us 9 201 979 B2
insight.rpxcorp.com

Duibhciu56pssm

Planet Kde Page 4 Kde News
dot.kde.org

Planet Sipb
sipb.mit.edu

Hardware Yet With Pureos
puri.sm

Automating Image Optimization Web Fundamentals Google Developers
developers.google.com

Making Anime Faces With Stylegan Gwern Net
www.gwern.net

Html Standard
html.spec.whatwg.org

Sensors July 2015 Browse Articles
www.mdpi.com

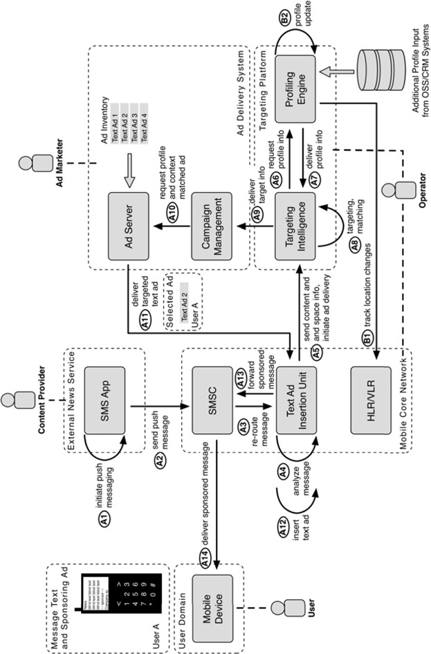
Technological Use Case Analysis Springerlink
link.springer.com

Patent Us 8 156 128 B2
insight.rpxcorp.com

News All News
store.steampowered.com

Distrowatch Com Devuan Gnu Linux
distrowatch.com

Planet Pitivi
www.pitivi.org

Petter Reinholdtsen Entries Tagged English
people.skolelinux.org

News All News
store.steampowered.com

Wo2010076770a2 Communication System Incorporating Collaborative
www.google.com

News All News
store.steampowered.com

Patent Us 9 201 979 B2
insight.rpxcorp.com

English Articles 16
www.pbwcz.cz

Hro00254 Smart Phone User Manual Sharp
fccid.io

Planet Pitivi
www.pitivi.org

News All News
store.steampowered.com

Us7715036b2 Mobile Device For Printing On Pre Tagged Media
patents.google.com

Libretro A Crossplatform Application Api Powering The
www.libretro.com

A Gentle Guide To Asynchronous Programming With Eclipse Vert X For
vertx.io

Cyber80211 802 11b G Voip Wifi Sip Phone User Manual Manual
fccid.io

Planet Sipb
sipb.mit.edu

Blog Archives Prace Summer Of Hpc
summerofhpc.prace-ri.eu

Nk9y8bzi7vg1zm

Bsimracing
www.bsimracing.com

Planet Sipb
sipb.mit.edu

Collected Essays By Rudy Rucker
www.rudyrucker.com

Making Anime Faces With Stylegan Gwern Net
www.gwern.net

News All News
store.steampowered.com

Android 7 Car Stereo Dvd Gps Navigation Radio Headunit For Audi
www.ebay.com

A Review On Deep Learning Techniques Applied To Semantic
deepai.org

Html Standard
html.spec.whatwg.org

Patent Us 9 201 979 B2
insight.rpxcorp.com

Patent Us 9 058 406 B2
insight.rpxcorp.com

Kate Gregory S Blog Seen And Recommended
www.gregcons.com

Optimization Png

Essential Image Optimization
images.guide

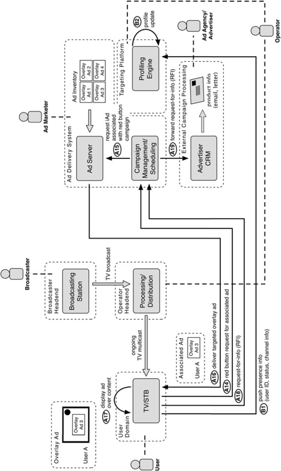
Technological Use Case Analysis Springerlink
link.springer.com

Technological Use Case Analysis Springerlink
link.springer.com

Shallow Thoughts Tags Programming
shallowsky.com

Gpus
news.developer.nvidia.com

Articles
www.pbwcz.cz

Image Optimization

News All News
store.steampowered.com

Chameleon Mediacenter Better Than Wmc For Win10
chamconsoft.com

820sc Pcs Gsm Edge Phone With Bluetooth User Manual 707scii Web
fccid.io